AirPods con controles biométricos y basados ​​en gestos

earpods-gesture.png

AirPods con controles biométricos  y basados en gestos. Los AirPods inalámbricos de Apple, que han sido retrasados, pueden no ser los únicos auriculares nuevos que la compañía tiene en funcionamiento. Una patente que originalmente se remonta al 2008, que ha sido publicada hoy, describe lo que parece un paso lógico siguiente para una empresa, que cada vez más se esta centrado en la salud y la aptitud: un auricular deportivo.

AirPods con controles biométricos  y basados en gestos

La patente describe dos tipos de funcionalidad, una orientada a la recopilación de datos biométricos para proporcionar datos de aptitud, la otra permitiendo el control basado en gestos de un iPhone ...

Como es habitual con las patentes, el lenguaje es lo suficientemente amplio para cubrir todas las bases, describiendo todo, desde sensores de auriculares incorporados hasta un sistema de monitorización independiente, que se puede conectar a los auriculares mientras se ejercitan y se quitan después, pero una unidad integrada parecería más Apple, como un nuevo enfoque. Apple señala que los auriculares pueden ser de  cables o inalámbricos.AirPods con controles biométricos  y basados en gestos

En el lado de la supervisión, Apple describe la idea como una extensión lógica de los sensores de nuestras zapatillas Nike.

“El producto de monitoreo deportivo incluye un módulo que se coloca dentro de un zapato del usuario y el reproductor de medios digitales opera para comunicarse de forma inalámbrica con el módulo,  la distancia y la velocidad del usuario puedan ser visualizadas por el reproductor de medios digitales [...]La invención se refiere a un sistema de monitorización que se puede colocar próximo a la cabeza o el oído de un usuario. Según una realización, el sistema de monitorización se puede utilizar con un dispositivo auditivo, auriculares, de auriculares a auriculares. El sistema de monitoreo puede, por ejemplo, ser usado para monitorear la actividad del usuario. Tal como durante el ejercicio o actividades deportivas. La colocación del sistema de monitorización también puede facilitar la detección de otras características del usuario. (Por ejemplo, datos biométricos), tales como temperatura, transpiración y frecuencia cardíaca”.

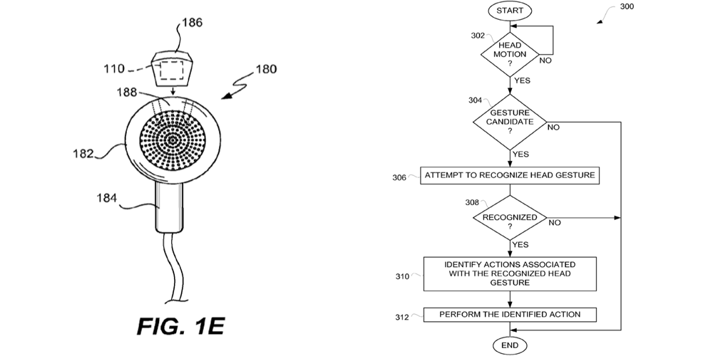
En el lado de los gestos, la patente explica cómo los gestos de cabeza podrían ser utilizados para todos los controles de música estándar.

AirPods con controles biométricos  y basados en gestos

“El movimiento de la cabeza del usuario puede utilizarse para invocar órdenes para el dispositivo de reproducción de medios. Por ejemplo, mover la cabeza de una manera predeterminada puede considerarse como un gesto. En el caso del dispositivo de reproducción de medios. Dicho gesto puede provocar la reproducción, la pausa, la siguiente, la retroceder, saltar, aumentar el volumen o disminuir el volumen”

Pero el enfoque, dice Apple, no necesita limitarse a la música.“El mismo gesto de cabeza puede iniciar una acción diferente en diferentes aplicaciones [...]

Cuando se recibe otra llamada, el usuario puede recibir una pantalla que le pregunta si desea omitir una llamada entrante. O poner la llamada actual en espera para contestar la llamada entrante. En respuesta, el usuario podría responder simplemente sí o no como lo haría en una conversación normal. AirPods con controles biométricos  y basados en gestos.

Los movimientos también pueden distinguirse o alterarse en función de la velocidad

En otra implementación, un movimiento hacia arriba o hacia abajo crea un evento de desplazamiento vertical. Mientras que el movimiento hacia la izquierda o hacia la derecha crea un evento de desplazamiento horizontal. Y el mantenimiento de la cabeza hacia arriba, abajo, izquierda o derecha puede aumentar o acelerar la velocidad de desplazamiento hasta que la cabeza vuelva a la normalidad”

La patente va un poco por la borda al discutir la posibilidad, de que 'todo un lenguaje de gesto de la cabeza pueda ser desarrollado'. Llegando incluso a describir un enfoque del código Morse para la entrada de texto.

“Los movimientos que se pueden detectar incluyen: inclinación a la izquierda, inclinación a la derecha, inclinación hacia delante y hacia atrás, inclinación hacia delante y hacia atrás, inclinación hacia delante y hacia atrás, rotación a la izquierda, rotación a la derecha, hacia atrás y adelante hacia la derecha Y la rotación a la izquierda, girando la cabeza en un círculo en orientación vertical. Girando la cabeza de una manera circular en una orientación horizontal. Los movimientos también pueden distinguirse o alterarse en función de la velocidad, el tiempo, las pausas intermedias, etc”

Pero la idea de usar simples gestos de cabeza para controlar la música o aceptar o rechazar una llamada parece totalmente plausible. AirPods con controles biométricos  y basados en gestos

Fuente 

Si te gusta este artículo compártelo en tus redes sociales. Con ellos nos ayudas a seguir publicando en esta Web. Y no te pierdas nuestros Podcast diarios y en directo sobre el mundo de la tecnología. Además, no te olvides de visitar y suscribirte en nuestro canal de YouTube Applelianos.

ME LLAMO SONIA Y SOY APPLELIANA.

Escucha “Applelianos” en Spreaker.

Anterior
Anterior

¡ Super Mario Run ! Fecha De Lanzamiento y Precio

Siguiente
Siguiente

Aparece la nueva aplicacion "TV" en el Apple TV 4